乙腈中12种挥发性有机物VOC混标/DB44/814-2010
-
甲醇中12种挥发性有机物VOC混标/DB44/814-2010
BW06998 | 1.2mL
-
甲醇中12种挥发性有机物VOC混标/DB44/814-2010
BW-OTL-2TM-00695 | 1.2mL
-
乙腈中23种挥发性有机物VOC混合溶液标准物质(DB44/814,815,816,817)/DB44/ 814-2010/DB44/ 815-2010/DB44/ 816-2010/DB44/ 817-2010 23 Mix VOCs in acetonitrile
BWQ0159-2016 | 1.2mL
-
乙腈中15种挥发性有机物VOC混标/DB44-817-2010
DND013849 | 2ml
-
12种挥发性有机物VOC混标,适用于DB44 814-2010 VOC Mix 12
MCEM590992-AL | 1mL
-
12种挥发性有机物VOC混标,适用于DB44 814-2010 VOC Mix 12
MCEM501757-ME | 1mL
-
甲醇中12种挥发性有机物VOC混标(套标)DB44/814-2010
BW-OTL-XM-00695 | 1.2mL*5/套
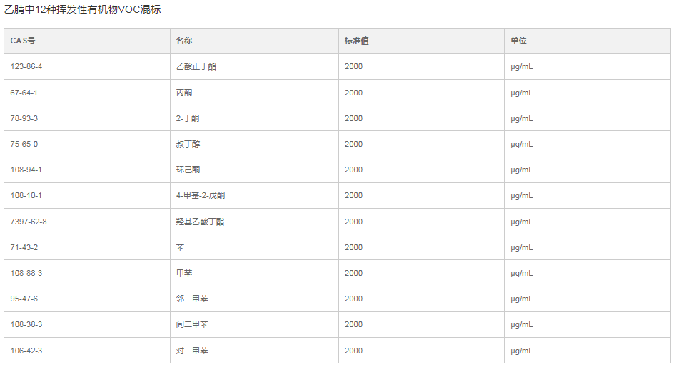
您正在浏览的产品:乙腈中12种挥发性有机物VOC混标/DB44/814-2010
手机版:乙腈中12种挥发性有机物VOC混标/DB44/814-2010
本公司销售的所有产品仅供实验科研使用,不用于人体及临床诊断。